Бензогенераторы: |   Все бренды   |   Yamaha   |   Honda   |   Elemax   | мотопомпы | стабилизаторы | газогенераторы | двигатели  
   Бензогенераторы, бензиновые генераторы, электрогенераторы, электростанции по низким ценам.

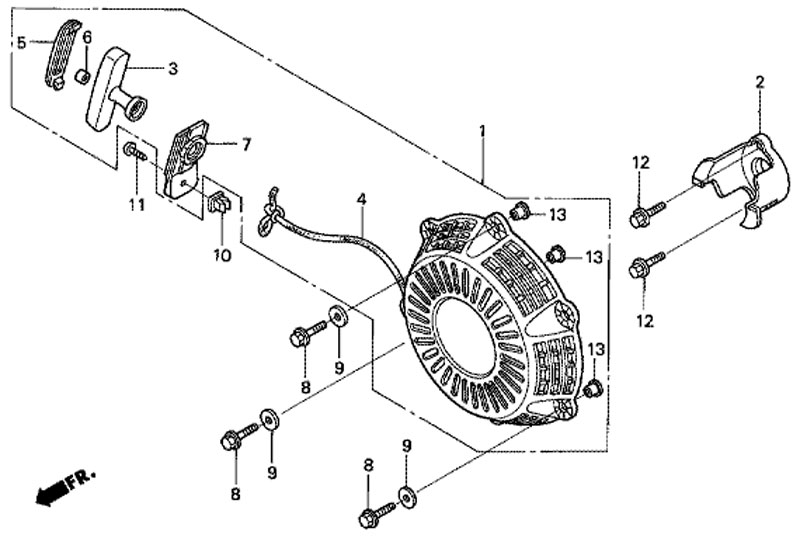
КАТАЛОГ ОРИГИНАЛЬНЫХ ЗАПЧАСТЕЙ ДЛЯ HONDA EU20i GP3


БАРАБАННЫЙ СТАРТЕР (RECOIL STARTER) F9

барабанный стартер Honda eu20i (Recoil Starter)
Номер
на чертеже
Код по каталогуНазвание (eng)Название (rus)Цена
00128400-Z07-004

-

СТАРТЕР В СБОРЕ, НАМОТОЧНОЕ УСТРОЙСТВО

3.273 руб.
00228451-Z07-004

-

ШКИВ, СТАРТЕР

380 руб.
00328461-Z07-004

-

ЗАХВАТ, СТАРТЕР

149 руб.
00428462-Z07-004

-

ШНУР, СТАРТЕРА

310 руб.
00528464-Z07-004

-

КРЫШКА, РУКОЯТКА

82 руб.
00628469-ZE2-W01

-

ЗАХВАТ, ЭЛЕМЕНТ УСИЛЕНИЯ

266 руб.
00728475-Z07-004

-

НАПРАВЛЯЮЩАЯ, ШНУР СТАРТЕРА

265 руб.
00890022-888-010

-

БОЛТ, ФЛАНЕЦ, 6X20 (CT200)

80 руб.
00990401-ZA0-000

-

ШАЙБА, ПЛОСКАЯ, 6.5X15

32 руб.
01090652-SA5-670

-

ИЗОЛЯЦИОННАЯ ВТУЛКА, ВИНТ, 6MM

62 руб.
01193913-15480

-

ВИНТ, НАРЕЗНОЙ, 5X16 (PO)

21 руб.
01295701-06012-08

-

БОЛТ, ФЛАНЕЦ, 6X12

20 руб.
01391552-Z07-000

-

ВОРОТНИКОВАЯ ВТУЛКА, БАРАБАННЫЙ СТАРТЕР

по запросу

Начало каталога запчастей для генератора Honda EU20i GP3